皇冠信用网在线注册_2023年社工新考生考试报名注册及学历在线核验流程?
皇冠信用盘足球代理(www.hg01.vip)-开会_员出_租平_台,皇冠体育/—开会员账号—(招登1登2登3管理(代理出租,2023年的社工考试定于6月10、11日举行,社工考试报名将于3-4月开启,对于计划参加此次考试的新考生,应及早注册及完善学历信息皇冠信用网在线注册。
考试报名前,小羊提醒大家先完成这三步:账号注册,照片上传,学历核验皇冠信用网在线注册。
尤其学历核验需24小时才能通过审核,所以提前完成这些步骤很有必要,届时报名通道开启,就直接可以报名啦皇冠信用网在线注册。

01新用户账号注册操作流程
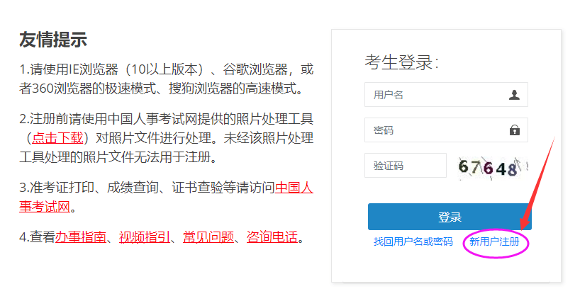
1、进入中国人事考试网皇冠信用网在线注册,选择【网上报名入口】进入登录页面,点击【新用户注册】

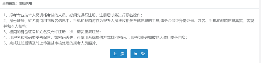
2、接受【专业技术人员资格考试网上报名协议】——查看【注册须知】

展开全文
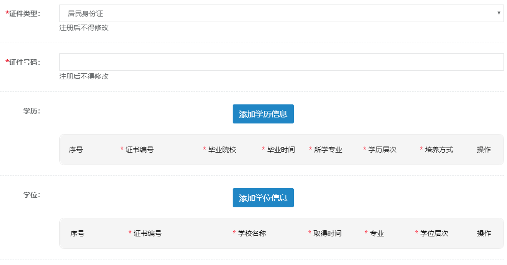
3、填写注册信息皇冠信用网在线注册。其中带*号的是必填项;证件号码,可以选择使用身份证、军官证、护照或港澳台居民身份证进行注册。其中一定要牢记邮箱和密码找回问题,以便找回密码。


4、填写完毕确认无误后点击【提交】,出现信息确认,需要考生重新输入姓名、证件号码进行确认皇冠信用网在线注册。点击【确定】后,提示“注册成功”,再点击【确定】,系统自动返回考生登录界面,填写用户名、密码、验证码后即可登录系统。
重要提示:
(1)一个身份证号和姓名只能注册一次皇冠信用网在线注册,请勿重复注册
(2)确保身份证号、姓名、邮箱和手机信息完整准确
(3)牢记用户名和密码皇冠信用网在线注册,丢失或忘记后用下面方法找回
(4)如姓名中有生僻字无法输入,可以使用同音字加中括号代替皇冠信用网在线注册。
02报名考生学历在线核验步骤
一、新考生皇冠信用网在线注册,未注册账号人员
打开“全国专业技术人员资格考试报名服务平台”,未注册账号,请先点击注册,注册时填写学历信息皇冠信用网在线注册。

二、老考生或已注册账户人员
请直接点击登录,再点击右侧的学历学位信息维护皇冠信用网在线注册。(注意:没有学位,可以不填写学位信息。如果毕业证书不在身边,可以在学信网中查看你自己的“教育部学历证书电子注册备案表 ”,上面有证书编号的。)

注意事项
核验结果查看
核验结果查看:在线核验结果一般在24小时后可以查看核验状态皇冠信用网在线注册。查看方式如下:1.登录报名系统,点击右上角“注册维护”,进入页面后点击“修改学历”。如下图所示

猜你喜欢
- 2026-04-07皇冠信用网在线申请_安徽6岁女童家门口失联超5天,警方通报:已遇害,犯罪嫌疑人柳某某(女,35岁)抓获归案
- 2026-04-06皇冠abcd类型盘_伊朗:霍尔木兹海峡将永远无法恢复往日的状态,尤其是对美国和以色列而言,革命卫队海军正在完成作战准备
- 2026-04-06皇冠信用网代理注册_东契奇里弗斯带伤出战?雷迪克:他们都通过了医疗许可
- 2026-04-05世界杯足球会员注册_伊朗媒体:苏莱曼尼女儿否认他的亲属在美被捕,苏莱曼尼的两个侄辈均为男性,且至今为没有亲属在美国居住
- 2026-04-04皇冠信用网足球代理_“我准备倒闭了!”广东爆火鸡煲店老板再发声:你们去隔壁吧,我这是冰冻鸡,别来了;儿子:家里有养鸡场,最多还能撑一到两个月
- 2026-04-04皇冠信用网会员_湖南1岁半幼童出门迎接爸爸,直接被爸爸车蹭倒,人从车底穿过,孩子爸:无人照看致孩子独自跑开,目前人没事
- 2026-04-02皇冠信用网登2代理申_女子隐瞒重病相亲2天就订婚,并要求男方贷款600万治病,被拒绝后拉黑对方,法院:女方返还70%彩礼
- 2026-04-02皇冠信用网结算日_预警!天津有10级以上雷暴大风!11级大风!
- 2026-04-01皇冠手机管理端登录_以色列:法国采取敌对行动,全面停止国防交易
- 2026-03-30皇冠信用网申请_暴跌2500点!熔断!
- 2026-03-30皇冠信用网代理注册_海关在一旅客行李箱内发现多个枪管、枪托,又在其贴身衣服内查出扳机、弹夹等,共查获枪支零部件、散件18件,枪支附件10件
- 2026-03-29皇冠手机管理端登录_记者直击太原大火:起火建筑位于核心商圈,疑底商烧烤店起火,引燃高楼外立面保温层


网友评论